
链式输送机主要是以链条作为牵引构件,可以水平或倾斜输送粉状、粒状、小块状物料,大汉链式输送机输送量高达600立方/时,单机输送长度可达60米,大汉链式输送机可根据输送物料设计.
全国统一销售热线
免费获取报价

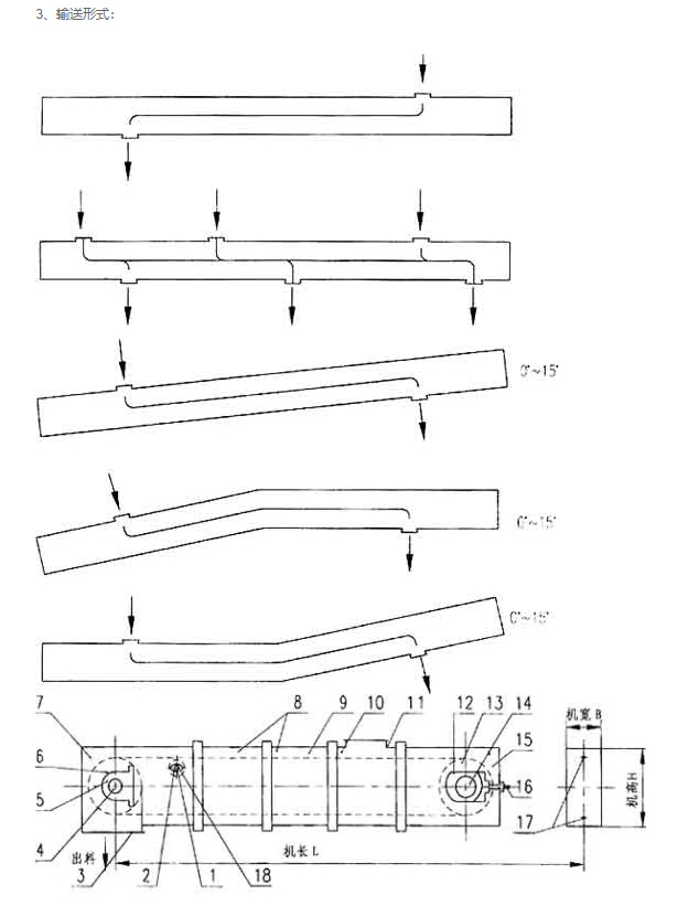
链式输送机可以水平或倾斜(≤15°)输送粉状、颗粒状及小块状物料,其输送带可以根据输送物料要求采用橡胶或塑料两种材质,使用工作环境在-15℃~40℃,当输送酸碱性或油类物料是,需采用特殊设计的输送带。
链式输送机主要用于粮食加工、建材、化工、冶金、交通、电力、港九等运输行业,可以用于输送粉状、粒状、小块状物料,如水泥、石灰石粉、煤粉、粉煤灰、焦炭等物料。

1、输送量大,输送机理允许在小容量空间内输送大量物料,输送能力达15~600m3/h,输送长度可达60米。
2、输送能耗低,借助物料的内摩擦力,变推动物料为拉动物料,使其与螺旋输送机相比节电40%~60%。
3、密封,全密封的机壳可降低粉尘污染,环境卫生,运行可靠。
4、使用寿命长,用合金材料经热处理加工而成的输送链,链上的滚子寿命(根据不同物料)能使用1~3年。
5、工艺布置灵活,可高架、地面或地坑布置,可水平或爬坡(不大于15度)安装,也可同机水平加爬坡安装,也可多点进出料。

链式输送机主要由驱动装置、头节、中间街、尾节、输送量等部分组成,驱动装置可分为左装和右装。



由于物料具有内摩擦力和侧压力等特性,输送链的运动使机槽内的物料之内部压力和颗粒间的内摩擦力增加,当料层之间的内摩擦力大于物料与槽壁间的外摩擦力时,物料就随着输送链一起象水一样地向前流动,料层高度与机槽宽度的比值满足条件时,可形成稳定的物料流。





Copyright ? 2008-2019螺旋输送机厂家-新乡市大汉振动机械有限公司 All Rights Reserved 版权所有
网站备案号:豫ICP备09002479号-47

